Google 在 Android 8.1 更新中为争议性汉堡 Emoji 带来正确摆放次序

实在是用家福音。

Tech & Gadgets 科技
1.0K 0 评论
Save

Google 早前因为其 Emoji 内的汉堡包有别于其他单位将芝士放在牛肉下面,但有用家认为这样的摆放次序会影响汉堡的味道而遭到强烈不满,最终甚至令到 Google CEO 也要在其 Twitter 发文表示要把这件事放在首要处理事项。终于,在最新的 Android 8.1 更新当中,这个汉堡包 Emoji 亦终于有了广受大众欢迎的次序-芝士在牛肉上面,那么,汉堡包的芝士就再不会因为牛肉肉汁而影响味道了!

阅读全文
作者
分享此文章

继续阅读

Art Basel 限定-Air Jordan 1「Igloo」及「Rust Pink」配色即將登場
Footwear 球鞋

Art Basel 限定-Air Jordan 1「Igloo」及「Rust Pink」配色即将登场

男女士们也抗拒不了。

Jeff Staple 曝光 Staple Design x DENIM BY VANQUISH & FRAGMENT 聯名企劃
Fashion 时装

Jeff Staple 曝光 Staple Design x DENIM BY VANQUISH & FRAGMENT 联名企划

「鸽子」与「闪电」再次相遇。

Nike x Just Don 聯名鞋款 Air Force 1 Hi 抽籤入手詳情公布
Footwear 球鞋

Nike x Just Don 联名鞋款 Air Force 1 Hi 抽签入手详情公布

两者继续以时尚且高端风格示人!

Business Insider 公佈 2017「全球體育球隊平均薪資」排行榜
Sports 运动

Business Insider 公布 2017「全球体育球队平均薪资」排行榜

那么每只球队的最高薪水又有多少呢?

網友意外收到 Air Jordan 1「Bred Toe」未發售配色?
Footwear 球鞋

网友意外收到 Air Jordan 1「Bred Toe」未发售配色?

Eastbay 疑似寄错鞋款。

Hodinkee x Swatch 聯名 SISTEM51 腕錶
Fashion 时装

Hodinkee x Swatch 联名 SISTEM51 腕表

Hodinkee 上鲜有的经济表款。


美國「網絡星期一」當日網購消費達 66 億美元再創紀錄
Fashion 时装

美国「网络星期一」当日网购消费达 66 亿美元再创纪录

成为美国历史上最大的网购日。

YEEZY Season 5 Military Boot 全新迷彩配色上架
Footwear 球鞋

YEEZY Season 5 Military Boot 全新迷彩配色上架

Season 5 的独特要素。

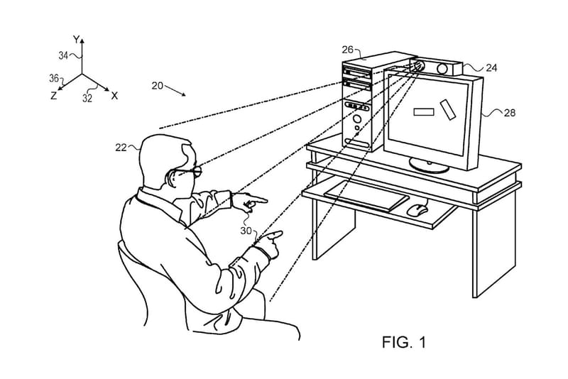
Apple 最新專利將允許以 3D 手勢控制 Mac
Tech & Gadgets 科技

Apple 最新专利将允许以 3D 手势控制 Mac

再一次把 Microsoft Kinect 的技术发挥运用。

Off-White™ 2017 秋冬「Firetape」系列正式上架
Fashion 时装

Off-White™ 2017 秋冬「Firetape」系列正式上架

全新「FIRE LINE DO NOT CROSS」元素亮相。

NikeLab ACG 2017 假日系列 Lookbook
Fashion 时装

NikeLab ACG 2017 假日系列 Lookbook

从大自然中汲取灵感。

adidas Originals EQT Support 93/17 全新 GORE-TEX 版本
Footwear 球鞋

adidas Originals EQT Support 93/17 全新 GORE-TEX 版本

革新鞋款与机能材质的完美结合。

More ▾